今天是:
学校主页
|
办公网
|
统一信息门户
关闭
网站首页
部门概况
机构简介
机构职责
部门职责
部门电话
规章制度
上级文件
学校文件
部门文件
服务指南
综合服务
网络服务
校园卡服务
多媒体教学服务
工作动态
党建工作
常用下载
软件下载
文件下载
网络安全
安全预警
安全通告
安全知识
正版化软件
他山之石
联系我们
网站首页
>
规章制度
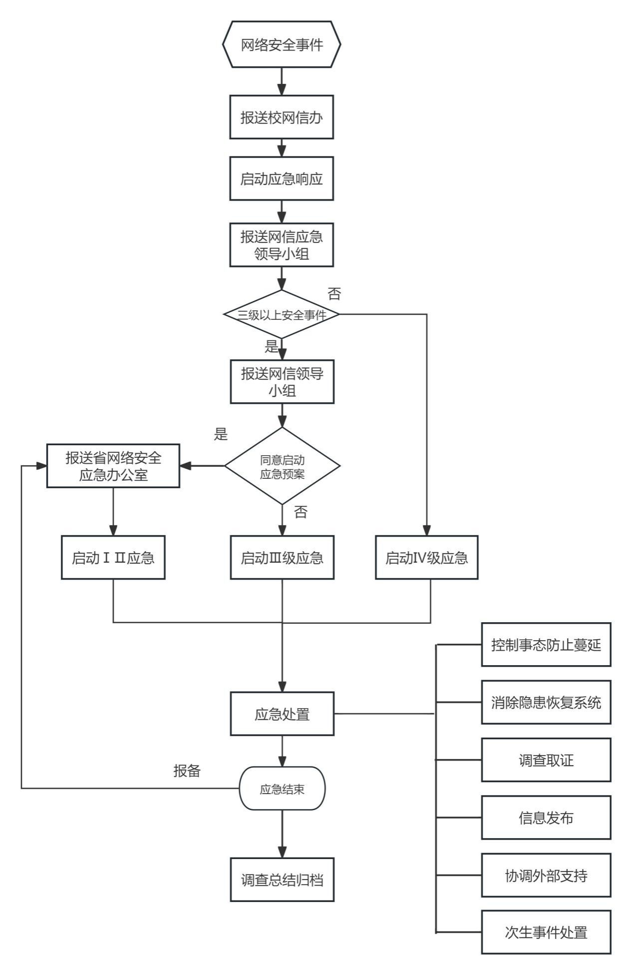
《江苏海洋大学网络与信息安全事件应急预案》PDF文本+流程图
作者: 时间:2025-01-06 点击数:
附件【
《江苏海洋大学网络与信息安全事件应急预案》(江海大信息〔2020〕8号).pdf
】已下载
次
上一篇:
江苏海洋大学关于调整信息化工作领导小组成员的通知
下一篇:
江苏海洋大学多媒体教学设施使用与管理办法
版权所有Copyright 2019-2021 地址:江苏省连云港市海州区苍梧路59号
信息服务:江苏海洋大学信息化中心